Periscope Lens: What's that about? And when is Apple going to use one on the iPhone?
2022 is a long way off, but periscope lens technology is already installed on the market in some smartphones, giving us an idea of what we can expect when it releases from the 'iPhone' feature. In a smartphone camera, a periscope lens provides optical zoom features that are not otherwise possible, allowing for 5x or even 10x optical zoom.
First and foremost, Kuo has very little to say about Apple's periscope lens plans, with the details limited to one sentence: "The latest 2H22 iPhone will feature a periscope." We have no idea at this time what the periscope lens of Apple might be capable of, aside from an improvement in optical zoom capabilities, due to the lack of information.
Apple's higher-end iPhone 11 Pro and Pro Max models now feature a 2x zoom compatible telephoto lens, but a periscope lens will go even further.
How a Periscope Lens Works
It is not clear if Apple aims to add a periscope lens, but in general, the technology uses a prism or mirror to refract light for magnification purposes on the lens sensor, with the lens mechanics designed into the inside of the smartphone rather than the outside like a typical zoom lens for a DSLRR.
/article-new/2020/03/huaweip30ifixit.jpg?lossy)
The telephoto lens of the 'iPhone' is limited to 2x optical zoom, but up to 10x digital zoom is available. Optical zoom capabilities use the lens to take a close-up image, so optical zoom images stay transparent and crisp.
Basically, digital zoom crops into an image taken with a wider-angle lens, resulting in blurredness and artefacts that, due to the lack of clarity, frequently make the picture unwanted.
Alongside the 2x telephoto lens, the iPhone 11 and 11 Pro offer 0.5x zoom (ultra wide-angle lens) and 1x zoom (wide-angle lens). Apple will probably bump up the capabilities of the telephoto lens with a periscope lens to allow it to zoom further than 2x.
As this technology works best in a single lens situation, the periscope lens will likely be restricted to the telephoto camera. So you will have a single camera that, alongside other more standard wide-angle and ultra wide-angle cameras, could zoom in super far.
Current Periscope Smartphones with Lenses
Right now, Periscope-style lenses for advanced optical zooming capabilities are trending and the technology has been adopted by many manufacturers. The Galaxy S20 Ultra with hybrid 10x optical zoom capabilities was just launched by Apple's primary rival, Samsung.
The P30 Pro, which also provides 5x true optical zoom and 10x hybrid optical zoom, has been launched by Huawei, and the company is rumoured to be working on a P40 Pro with even more sophisticated true 10x optical zoom capabilities. Oppo is said to be preparing a 10x optical zoom smartphone, too.
/article-new/2020/03/huaweitelephoto10x.jpg?lossy)
In the S20 Ultra, Samsung calls the zoom feature 'Space Zoom' and it makes up to 100x optical zoom. The periscope lens itself, paired with a 48-megapixel sensor, utilizes a folded 4x telephoto lens that can switch between 4x and 10x zoom. The zoom feature of Samsung is theoretically a hybrid choice because the 10x zoom uses some sensor cropping.
/article-new/2020/03/s20ultra30xzoom.jpg?lossy)
The zoom capability of 100x uses digital zooming technology that we thought performed very well up to 30x, but at 100x it is not especially useful. For a comparable effect, Apple, like Samsung, may combine digital zoom with optical zoom.
/article-new/2020/03/galaxys20ultrazoom.jpg?lossy)
Patents for Periscope Lens Technology by Apple
Apple has proprietary technologies for periscoping mobile camera lenses, so this is definitely something that the business has been playing with and contemplating.
/article-new/2020/03/applelenspatent.jpg?lossy)
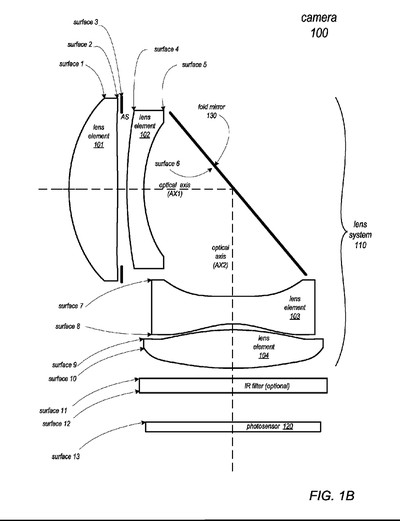
For example, a 2016 patent describes a folded telephoto camera lens system that includes multiple lenses in the form of a mirror with refractive power and a light path folding feature.
Light will be channeled into the camera through a primary lens, reflected off the included mirror in the smartphone, according to the definition included in the patent, and then sent to a secondary lens that travels up and down for zoom-in purposes.
Comments
Post a Comment